信息系统集成
致力于为企业打造高效、稳定、智能的信息系统集成解决方案,构建“一体化、可视化、可扩展”的数字运营平台,全面打通数据壁垒,实现管理效率跃升、资源最优配置与业务无缝协同,让数字化真正成为企业高质量发展的核心引擎。
行业实践1:输电线路电磁环境影响预测系统
打破数据孤岛,构建企业级数据资产。我们提供从数据源接入、清洗转换、建模分析到API服务的一整套数据中台解决方案,帮助企业沉淀数据价值,赋能业务创新。通过实时数据监控和预警,助力企业快速响应市场变化,实现精细化运营。

1.数据资产沉淀
- 挖掘企业应用标准与业务数据,形成输电线路电磁环境影响预测标准库、导线库、杆塔库等后台数据库,形成数据驱动的智能决策体系与数字资产,打造面向未来的可持续核心竞争力,实现从“数据”到“决策”的高效跃迁。

2.业务体系的高效协同
- 依托后台数据库数据联动与输电线路电磁环境影响算法模型优化,实现业务数据与结论的快速、精准输出。系统内置分析验证功能,从源头降低人为干预带来的误差风险。

3.业务方案智能生成
- 基于系统智能计算与多维验证,一键生成输电线路电磁环境影响报告方案,快速响应对应业务需求,真正做到“需求即方案”。

4.数据可视化管理
- 实时同步相关方关注数据,通过可视化展示,利用数据驱动决策;PC、大屏、移动端自适应,一次设计,多端无缝呈现。
行业实践2:生产设备管理系统
整合企业核心业务流程,提升运营效率。我们的ERP系统涵盖财务管理、供应链管理、生产制造、人力资源等多个模块,实现信息共享和流程自动化,降低运营成本,提高决策效率。支持灵活定制,满足不同行业和规模企业的需求。

1.一物一码
- 为每台设备生成专属二维码,实现设备巡检、报修、保养等方面的数字化管理,相关人员通过移动终端快速填写,解决效率低下、数据滞后、统计困难等问题。 :::

2.站点档案
- 建立站点档案,系统整合站点基础信息、重点文件、运维记录以及经验等关键信息,推动单站点运维从“经验驱动”向“数据支撑”转型,又为多站点协同管理提供了可对比、可追溯的量化依据。

3.设备档案
- 对设备基础数据、安装使用信息以及运维过程实施线上集中管理,构建覆盖设备巡检、报修、保养与分析预警全流程的数字化体系,实现设备全生命周期闭环管控。

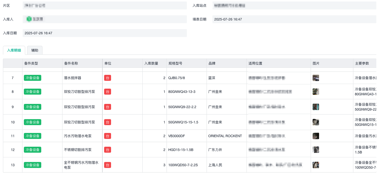
4.备件管理
- 规范备件的入库、领用、调拨等核心流程,提升备件周转效率与资源利用率。

5.运营数字中台
- 汇聚站点、运营、设备等多维度分析数据,形成标准化数据汇总体系,可根据不同层级管理需求一键输出精准运营数据,为管理决策提供快速、全面的数据支撑。

6.系统联动
- 通过代码开发API接口实现跨平台、跨业务的数据融合与共享,破解日益凸显的数据孤岛难题,全面释放数据价值。